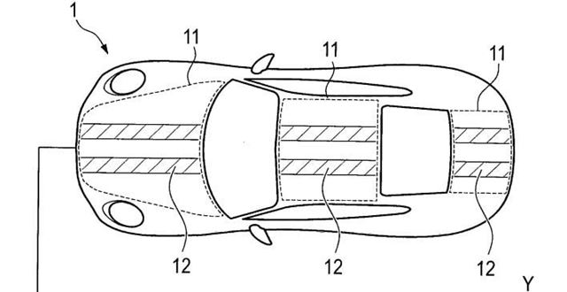
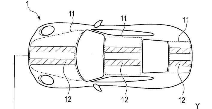
Porsche si patentovalo technológiu, ktorá by mohla zmeniť spôsob, akým auto vyzerá navonok. Podľa zverejnených patentových prihlášok pracuje na aktívnych povrchoch karosérie, ktoré vedia podľa potreby meniť farbu, objaviť sa alebo naopak zmiznúť. V praxi by tak auto mohlo mať napríklad pretekárske pruhy len v športovom režime a pri bežnej jazde pôsobiť úplne civilne.
Základom riešenia má byť elektroforetický film, teda technológia podobná elektronickému papieru známeho z e-ink displejov. Takýto materiál dokáže meniť svoj vizuálny prejav podľa elektrického napätia, pričom ide o reflexný povrch a nie klasický svietiaci displej. E Ink opisuje svoju technológiu ako film, ktorý možno aplikovať na rôzne povrchy, čo dobre zapadá do predstavy aktívnych častí karosérie alebo dizajnových panelov na aute.
Patent pritom nemieri len na dizajnový efekt. Porsche v materiáloch opisuje aj praktické využitie, napríklad zobrazenie stavu nabíjania elektromobilu priamo na karosérii. Majiteľ by tak nemusel sledovať malý displej alebo mobil, ale priebeh nabíjania by videl rovno zvonka na aute, napríklad formou farebného pásu na prahu alebo kapote. Podobne by sa takýto povrch mohol využiť aj na upozornenia pri poruche, nehode alebo servisnej potrebe.
To znamená, že karoséria by v budúcnosti nemusela byť len pasívne nalakovaná plocha. Mohla by sa z nej stať ďalšia komunikačná vrstva auta. Niečo medzi lakom, informačným prvkom a bezpečnostným signalizačným systémom. Teoreticky by tak vedeli niektoré časti auta meniť zvýraznenie podľa jazdného režimu, technického stavu alebo konkrétnej situácie na ceste. Tento zámer síce znie futuristicky, ale patent naznačuje, že Porsche sa pozerá aj na funkčné využitie, nielen na vizuálnu atrakciu.
Podobný smer už pred rokmi ukázalo BMW s konceptom iX Flow, ktorý využíval technológiu E Ink na zmenu vzhľadu exteriéru. BMW vtedy hovorilo nielen o personalizácii, ale aj o možných funkčných výhodách, napríklad v súvislosti s vplyvom farby povrchu na tepelné správanie vozidla. Porsche však podľa dostupných informácií skôr cieli na menšie aktívne prvky a konkrétne dizajnové či informačné časti, nie na úplnú premenu celej karosérie.
Zatiaľ však ide len o patent. To znamená, že zaujímavý nápad ešte automaticky neznamená vydanie do sériových áut. Otáznikov je stále veľa, od odolnosti takéhoto povrchu voči slnku, počasiu a poškodeniu až po cenu opráv či možné regulačné limity. Pri aute, ktorého vzhľad sa vie meniť, by navyše mohli prísť aj diskusie o bezpečnosti, homologizácii a o tom, čo všetko ešte môže byť legálne meniť počas jazdy.
Aj tak však ide o zaujímavý pohľad na to, kam sa môže posunúť automobilový dizajn. Ak sa podobné riešenie raz dostane do praxe, karoséria auta už nebude len pevne daný vizuál z výroby. Môže sa zmeniť na aktívny prvok, ktorý sa prispôsobí jazdnému režimu, situácii aj nálade vodiča. A pri Porsche by to pokojne mohlo znamenať, že legendárne pruhy už nebudú vždy nalakované natrvalo, ale objavia sa len vtedy, keď ich auto uzná za vhodné.













Komentáre